Запасные части ЧТЗ Запасные части ЧТЗ
Нур-Султан
Например:
Актобе
Алдан
или
Выбрать автоматически
Актобе
Алдан
Алматы
Алчевск
Архангельск
Астана
Астрахань
Атырау
Баку
Балашиха
Барнаул
Белгород
Бердянск
Бишкек
Владивосток
Владикавказ
Воркута
Воронеж
Горловка
Грозный
Донецк
Екатеринбург
Иваново
Ижевск
Иркутск
Казань
Калининград
Каменск-Уральский
Караганда
Каховка
Кемерово
Киров
Комсомольск-на-Амуре
Костанай
Краснодар
Красноярск
Красный луч
Ленск
Луганск
Магадан
Магнитогорск
Макеевка
Махачкала
Мелитополь
Минск
Мирный (Якутия)
Москва
Мурманск
Нерюнгри
Нижневартовск
Нижний Новгород
Нижний Тагил
Новая каховка
Новокузнецк
Новосибирск
Новый Уренгой
Норильск
Ноябрьск
Нур-Султан
Омск
Оренбург
Ош
Павлодар
Пермь
Петрозаводск
Петропавловск
Петропавловск-Камчатский
Псков
Ростов-на-Дону
Салехард
Самара
Санкт-Петербург
Саратов
Севастополь
Семей
Симферополь
Сочи
Ставрополь
Сургут
Сыктывкар
Тараз
Ташкент
Токмак
Томск
Тында
Тюмень
Ульяновск
Усинск
Усть-Каменогорск
Уфа
Хабаровск
Ханты-Мансийск
Херсон
Челябинск
Чита
Шымкент
Экибастуз
Энергодар
Южно-Сахалинск
Якутск
Ваш город
Нур-Султан
Войти
Запасные части к тракторам на одном сайте
+7 (932) 303-00-10
+7 (932) 303-00-10
г. Нур-Султан, ул. Жанажол, д. 19
Пн-Пт: 9:30-18:30 Cб-Вс: Выходной
Отправить заявку


Детали управления коробкой передач на Т10М / Б10М


/
с НДС 20%
Описание
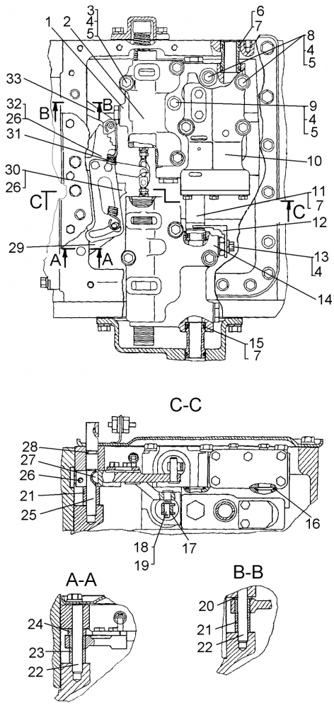
Детали управления КПП на Т10М
#Номер запчастиНаименование деталиКол-во в сборке
1 64-12-201СП Плита 1
2 64-12-202СП Блок реверса 1
3 700-28-2734 Болт 1
4 - Шайба 10 ОТ 65Г 09 12
5 31308-1 Шайба 115
6 62-12-554 Втулка 1
7 - Кольцо 027-032-30-2-2 6
8 - Болт М10×70.58.019 9
9 - Болт М10-6g×80.58.019 1
10 64-12-203СП Блок клапанов 1
11 64-12-314 Втулка 1
12 64-12-383 Кронштейн 1
13 - Болт М10-6g×20.58.019 1
14 64-12-200СП Блок передач 1
15 64-12-67 Втулка 1
16 - Кольцо 022-028-36-2-2 6
17 64-12-319 Планка 2
18 700-47-2108 Ось 2
19 - Шплинт 2×20.019 2
20 31484 Шайба 1
21 64-12-312 Проставка 3
22 64-12-311 Стопор 2
23 64-12-372 Втулка 1
24 64-12-318 Проставка 1
25 64-12-320 Валик 2
26 - Болт М8-6g×25.88.35.019 2
27 - Шпонка 4×6,5 2
28 - Кольцо 014-018-25-2-5 2
29 64-12-223СП Рычаг 1
30 64-12-216СП Рычаг 1
31 700-38-2681 Пружина 1
32 64-12-225СП Рычаг 1
33 64-12-222СП Рычаг 1
Детали управления коробкой передач